タイトル * Evolve Power Amplifiers * Links * E-Mail
超低オン抵抗MOS-FET / 基本回路 / アンプ回路 / 主電源回路 / 製作について / 通電チェック / 測定結果 / 最後に
低耐圧超低オン抵抗パワーMOSFET 2SK1380採用
B級プッシュプルカスコード / A級シングル出力 パワーアンプ
私がこれまでに発表してきたアンプをもしユニークと感じるのであれば、それは既成の概念に捕らわれているせいでしょう。
すべての源である基本に立ち戻れば、私のアンプとオーソドックスなアンプとが等距離に位置することに気付くはずです。
アンプのあるべき姿は素子が教えてくれました。
素子の遺伝情報には宇宙の全体像が書き込まれています。
基本は素子との対話を可能にします。
最近登場したオン抵抗が非常に低いパワーMOS-FETは、オーディオ用のパワーMOS-FETと比較すると、表1のように耐圧が低く電極間容量が大きくgmが高いことが特徴です。
| [ 表1 ] パワーMOS-FETの規格 | ||||||||||||||
| 低耐圧超低RDS(ON)パワーMOS-FET | オーディオ用パワーMOS-FET | |||||||||||||
型名 |
2SK1298 |
2SK1380 |
2SK1595 |
2SK1665 |
2SK2121 |
2SK2267 |
2SK2499 |
2SK1056 |
2SK1529 |
2SK1530 |
2SK399 |
2SK400 |
||
メーカ |
日立 |
東芝 |
NEC |
日立 |
日立 |
東芝 |
NEC |
日立 |
東芝 |
東芝 |
日立 |
日立 |
||
V DDS〔V(max)〕 |
60 |
60 |
30 |
60 |
60 |
60 |
60 |
120 |
180 |
200 |
100 |
200 |
||
I DD〔A(max)〕 |
40 |
60 |
30 |
45 |
50 |
60 |
50 |
7 |
10 |
12 |
10 |
8 |
||
P D〔W(max)〕 |
50 |
200 |
35 |
125 |
100 |
150 |
75 |
100 |
120 |
150 |
100 |
100 |
||
R DS(ON)〔mΩ(max)〕 |
18 |
11 |
30 |
20 |
10 |
11 |
9 |
250 |
700 |
|||||
| 条件 VGS(V)/ID(A) |
10/20 |
10/30 |
10/15 |
10/20 |
10/25 |
10/30 |
10/25 |
15/5 |
15/4 |
|||||
gm 〔S(typ)〕 |
35 |
50 |
25 |
32 |
65 |
50 |
58 |
1 |
4 |
5 |
2 |
1.8 |
||
条件 |
10/20 |
10/30 |
10/15 |
10/20 |
10/25 |
10/30 |
10/25 |
10/3 |
10/3 |
10/5 |
10/5 |
10/4 |
||
Cis〔pF〕 |
3600 |
6200 |
2000 |
3950 |
8330 |
5400 |
3400 |
600 |
700 |
900 |
800 |
750 |
||
Crs〔pF〕 |
450 |
1700 |
400 |
360 |
550 |
950 |
770 |
10 |
90 |
100 |
70 |
60 |
||
条件 VGS(V) /VDS(V) |
0/10 |
0/10 |
0/10 |
0/10 |
0/10 |
0/10 |
0/10 |
-5/10 |
0/30 |
0/30 |
0/10 |
0/10 |
||
図1〜図4は本機で採用した、超低オン抵抗の2SK1380とオーディオ用の2SK1592の実測特性です。
2SK1380に限らず低オン抵抗パワーMOS-FETは、図2のように出力特性の曲線が水平となる電圧、いわゆる飽和電圧が極めて低くなっています。
このような特徴に秘められた、新しいアンプの可能性に挑戦してみました。
[図1] 2SK1380伝達特性 |
[図2] 2SK1380出力特性 |
![]() |
![]() |
[図3] 2SK1592伝達特性 |
[図4] 2SK1592出力特性 |
![]() |
![]() |
図1の伝達特性が示すように、低オン抵抗MOS-FETの特色であるgmが高く直線性の良い領域を使うためには、多量のアイドリング電流が必要です。
1.A級シングル動作
図5はA級シングル動作ソースフォロワの基本回路で、大きなアイドリング電流の活躍舞台であり、ペア選別が困難なこの種の素子に適役です。
高いgmの威力で低ひずみ、低出力インピーダンスとなり、オーバーオールのNFBが不要です。[図5] A級シングル動作ソースフォロワ基本回路
2.カスコード接続
低オン抵抗MOS-FETの飽和電圧は非常に低いので、図6のように、カスコード接続でVDSを低く設定するならばドレイン損失が減り、その上、耐圧の低さと帰還容量の影響も解決します。
[図6] カスコード接続A級シングル動作ソースフォロワ基本回路
3.B級プッシュプルカスコード /A級シングル出力
図7のように、出力段のみローカルにアイドリング電流を与える定電流電源を設けることで、カスコード段と出力段が個別に扱えるようになり、カスコード段をB級プッシュプル回路とすることが可能となります。
出力段はVDSが低い分アイドリング電流を大きくでき、カスコード段はアイドリング電流が小さいので電源電圧を高くでき、少ない発熱で大出力が得られます。
カスコード段の動作を出力段が操り、出力段の振る舞いが出力特性を支配するために、A級シングルアンプの音が期待できます。
[図7] B級プッシュプルカスコード/A級シングル出力
4.カスコード段の改良
カスコード段の接続を、図8のようにVDGを一定に保つ方式に変更して高速化しました。
図7のカスコード段は出力段の動作に追従しての後追い動作でしたが、図8はカスコード段と出力段へ同時に入力電圧を加えるので、カスコード段と出力段が横並びで動作します。
VDSはVDGとVGSの合計であり、VDGはVGSと逆に変化するためVDSの変化が減り好都合です。
[図8] カスコード段の改良
5.出力段定電流電源について
VDSの変化分を定電流電源の出力インピーダンスで割った値の電流が定電流電源に流れて、出力段の制御性を弱めるため、定電流電源には高い定電流性が要求され、カスコード段にはVDSを一定に保つ強力な定電圧性が要求されます。
でも原理的には、定電流性と定電圧性のどちらかが完全であれば片方は不完全でも構いません。
アンプ回路は図9のように、電圧増幅部の初段から電流増幅部のカスコード段までが、コンプリメンタリー・プッシュプルパワーアンプで、その出力に2SK1380と定電流電源から成るシングルアンプを追加しただけの構成です。
[図9] アンプ回路
無信号時の出力を無調整で0Vにするため、電圧増幅部のDCゲインを低域ブースト回路で高めて、出力から初段へ強力な100%DC負帰還を掛け、ついでにスピーカーの特性を補う目的で、低域ブーストを調整して、低域を持ち上げてみました。
1.電圧増幅部初段
電圧増幅部の初段は接合型FETのゼロバイアス動作で、電流帰還抵抗を介しての差動回路としました。
電流帰還抵抗は、NFBを掛けない代わりに負荷抵抗との比で増幅段ごとの電圧ゲインを設定するためのものです。
デュアルタイプFETの2SJ109と2SK389はBLランクでIDSSは8 mA前後が適当です。
接合型FETは耐圧が低いためカスコード回路とし、カスコード段にはCOBの小さい2SA1360と2SC3423を採用しました。
2.電圧増幅部2段目
電圧増幅部の2段目は、エミッタ接地回路で、コレクタ負荷は抵抗とコンデンサーの直列接続による低域ブースト回路です。
2SA1360と2SC3423は熱結合しますが、1W位の発熱があるので小型の放熱板を挟みました。
3.電流増幅部ドライブ段
電流増幅部のドライブ段は2SJ78と2SK215によるソースフォロワ回路で、カスコード段と出力段へ低インピーダンスで信号電圧を与えます。
ゲート側にあるバイアス回路のVRによって、カスコード段のアイドリング電流を調整し、ソース側のRAとRBの抵抗比によって出力段のVDSを調整します。
ゲート直列抵抗と50pFは発振防止用です。
4.電流増幅部カスコード段
カスコード段にはオーディオ用パワーMOS-FETの中からgmの比較的高い2SJ200と2SK1529を採用し、アイドリング電流は0.2Aとしました。
+45Vから+70Vへと、-70Vから-45Vへ接続してある10DF2は、電源オフ時に±45V電源の残留電圧を使い切るためのものです。
5.電流増幅部出力段
出力段のアイドリング電流を仮に6Aに設定すると、2SK1380のIDは6Aから最大12Aまで振れるので、VGSは図1の特性グラフから0.2V増加します。
この時2SK1529では、IDが0.2Aから6Aまで振れるので、VGSは図3から1.8V増加します。
そのため2SK1380のVDSは 1.8V−0.2V=1.6V 低下します。
2SK1380のIDが12Aの飽和電圧は図2から0.6Vですから、2SK1380の無信号時のVDSは 1.6V+0.6V=2.2Vよりも高く設定する必要があります。
アイドリング電流は定電流電源の電流検出抵抗で調整でき、電流値は、電流検出抵抗に発生する電圧を電流検出抵抗の値で割って求めます。
実際のアイドリング電流は7Aと仮定値より大きいですが、その分VDSは2.7Vと高めに設定してあります。
6.出力段定電流電源
定電流電源はオーディオ信号に対して十分に高インピーダンスであること。
電源投入時のショックノイズやハムが出ないように、低い電源電圧から定電流状態となること。
出力と接続してあるフローティング電源であるため、出力信号の漏れやノイズの侵入がないことが必要です。
バイポーラトランジスタで構成して、出力段MOS-FETを2SC3280のコレクタと電流検出抵抗の間に入れたことで、供給電圧が約2.4Vから定電流状態に達します。
電源リップルを強力に阻止するためNFBで定電流性を高めましたが、発振防止のため高周波域のループゲインを下げてあります。
電流検出抵抗から2SA872Aへの配線が長いと発振しやすくなりますが、電流検出抵抗の発熱が2SA872Aへ伝わるとアイドリング電流が減少するため、福島双羽MPC74(5W) 0.47Ωの5本並列接続で熱を放散しました。
2SK30ATMのIDSSは4〜5mAが適当です。2SA1248には小型の放熱板が必要です。
0.01μFと100Ωは発振防止用のC,Rです。
定電流電源への供給電圧は、出力段MOS-FETのVDSの2倍に電流検出抵抗の電圧降下分を加えた約6Vが適当です。
トランスにタンゴ6W7 (6.3V,7A×2)を使用しましたが、漏洩磁束が大きく、取りつけの位置と方向に注意が要ります。
整流は2素子入りショットキーバリヤ・ダイオードD85-009を並列接続して使用しました。
電源投入時の定電流状態に達するまでの僅かな間ですが、リップル分のノイズが出力されて耳に付くので、10000μFの10本並列接続で平滑して対処しました。
図10の電源回路はLch,Rchで共用する部分です。
[図10] 電源回路

電源投入時は、急激な電圧上昇で出力に大きなショックノイズを発生するため、タイマー・リレーでAC100V側へ直列に抵抗100Ωを入れて、電源電圧の上昇を緩やかにしました。
タイマー・リレーの時間はCTとRTで調整し、約8秒です。パワーオン表示のLEDはこの回路の動作電流で点灯します。
Rコアトランスは100Wクラスのパワーアンプ用として一般的な定格のものです。整流回路についても特別な箇所はありません。
外観は図11のように、ジャンク品のフラット型放熱器(40mm×147mm×200mm) 4個に合わせてタカチのアルミケースYM-300を2個ばらして、上下左右のパネルに使用し、前後のパネルはアルミ板などで作りました。
[図11] 外観

内部は図12のように、中央が主電源、側面がアンプ回路です。
[図12] 内部

ブロックコンデンサーをRコアトランスの上に取り付け、端子を背面パネルに寄せることでアース配線のループ面積を小さくして、ノイズを拾わないようにしました。
ブロックコンデンサーはラグ端子型ですが、ビス・ナットで配線を取り外し可能にしました。
写真1にアンプ部分の配線を示します。
[写真1] アンプ部分

ショットキーバリヤ・ダイオードの放熱はアルミアングルに取り付けて、大電流路の配線を短縮しました。
アンプのパワー素子は3mm×100mm×100mmアルミ板を挟んで取り付け、2枚の放熱器へ熱を分散しました。
アンプ基板は写真2のように、エッチング液に浸けて銅箔を取り除いた穴あき基板に、リード線どうしの半田付けによる配線です。
[写真2] アンプ基板


通電チェックは、定電流電源、主電源回路、アンプ回路の順に進めます。
機材としてスライダック、オッシロスコープ、テスター、発振器が必要です。
常に最悪を想定した対策を整えて、途中で不具合が発見されたら、配線、部品を点検し、正常と確認できるまで次のステップに進むことは許されません。
1.定電流電源のチェック
定電流電源のチェックは、出力段MOS-FETのドレイン−ソース間をジャンパ線で短絡して、定電流電源のトランスだけにスライダックを通してAC電源を接続し、電流検出抵抗に発生する電圧をオッシロスコープで観測します。
スライダックで電源電圧を徐々に上げて行くと、リップル波形が消えて約0.6Vの直線となるはずですが、リップル波形から発振が始まる場合には、発振防止のCを増し、Rを減らします。一旦直線となっても、さらに電源電圧を上げると発振する場合にはRを増やします。
定電流電源の発振やノイズは、アンプ出力に現れるため、定電流電源単体の動作を確認することは重要です。
2.主電源のチェック
ブロックコンデンサーからアンプへの配線を外し、スライダックで僅かな電圧を与えて、ブロックコンデンサーの端子に掛かる電圧の極性が正しいか、正負電源で電圧が対称か確認してからAC100Vを与えます。電源オンでLEDが点灯して、5ないし10秒後にリレーがオンすることを確認します。
3.アンプ回路のチェック
カスコード段のアイドリング電流を測定するため、-45Vの配線と直列に1Ω5Wの抵抗を入れ、バイアス回路の2kΩVRは最小にしておき、入力はショート、出力にはオッシロスコープを接続します。
スライダックで電源電圧を徐々に上げ、出力電圧は0Vで発振しないかをオッシロスコープで確認しながら、カスコード段のアイドリング電流を0.2Aとするため、VRで1Ωの電圧を0.2Vにします。
出力に8Ωダミーロードを接続して、10kHz方形波を入力し、小出力から最大出力まで、発振やリンギングがなく、ダミーロードと並列に0.1μFを接続して発振しなければOKです。
1.周波数特性
図13の周波数特性は、低域ブーストで20Hzが2.7dBアップし、20Hz以下は100%DC負帰還の作用でゲイン1に向かって低下しています。
-3dBポイントは低域10Hz、高域550kHzと広帯域です。
[図13] 周波数特性
2.残留ノイズ
表2に残留ノイズを示します。成分的には、定電流電源の整流回路から発生するスパイク状のノイズが大きく目立ちます。
[表2] 残留ノイズ電圧
Aフィルタ 無し
有り
入力端子 オープン
ショート
オープン
ショート
L ch. (μV)
310
94
190
56
R ch. (μV)
320
88
190
50
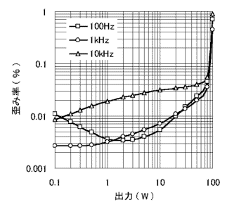
3.歪み率特性
図14の全高調波歪み率特性は、全体的に低歪みですが、出力段の歪みが極めて低いために、電圧増幅部の歪みが露呈し、2次歪みよりも3次歪みが多い内容です。
[図14] 全高調波歪み率特性
4.負荷抵抗対最大出力
図15は1kHz歪み率1%の出力を最大出力とした、負荷抵抗に対する最大出力のグラフです。
[図15] 負荷抵抗対最大出力特性
4Ωから8Ωの範囲で100W以上あり、ピーク点は5Ωの125Wで、その波形は写真3(c)ように上下均等にクリップしています。
5Ω以下はマイナス出力電流がアイドリング電流に制限され、写真3(a)のように下がクリップしますが、更に入力を増すと、写真3(b)ように下のクリップレベルを超えて出力が増します。これはカスコード段のマイナス出力電流が、出力段MOS-FETの寄生ダイオードを通過してくるためで、出力ショート等ではカスコード段のPchMOS-FETも過電流で破壊する可能性があります。
5Ω以上の最大出力はカスコード段の電源電圧で制限されますが、実の電圧は、主電源にアイドリング電流源の電源電圧(約6V)が加わりマイナス側にシフトしているため、クリップは写真3(d)のようにプラス側から始まります。
[写真3]クリップ波形
5.出力インピーダンス特性
図16は電流注入法で測定した出力インピーダンス特性です。
[図16] 出力インピーダンス特性
1kHzで0.03Ωと低く、その逆数は2SK1380のgmであり33Sと驚きの大きさです。しかし電極間容量が大きいため、グラフは5kHz位から上昇しますが、50kHzでも0.09Ωと低い値です。
低域で僅かに盛り上がる原因は、低域ブーストとDC負帰還による位相回転で、僅かな正帰還が生じたと考えられます。
6.10kHz方形波出力波形
写真4は10kHz方形波の出力波形で、容量負荷でも発振には至りません。
[写真4] 10kHz方形波出力波形
7.定電流電源の動作波形
写真5は定電流電源の動作を見るため、図17のようにオッシロスコープのプローブを接続して観測した波形です。
[写真5] 動作波形
[図17]オッシロスコープの接続
中央0Vラインから上は、定電流電源の電流検出抵抗の電圧VBEで、縦軸1目盛が0.2Vです。下は2SK1380のVDSで、縦軸1目盛が-1Vです。
電流検出抵抗をRSとして、VBEとVDSの変動幅から定電流電源の出力インピーダンスZを次の式で求めることができます。
Z=RS・ΔVDS/ΔVBE
ちなみに写真5(b)100kHzの場合、ΔVDSが1.7Vに対してΔVBEは40mVありZは約4Ωしかありませんが、定電流電源の電流変化は1.7V/4Ω=0.425Aで、この時の出力は80W、負荷抵抗8Ωで出力電流振幅が±4.5Aですから、出力電流に対する定電流電源の変動比は僅か4.7%です。
8.ショックノイズ波形
図18は電源オン・オフ時のショックノイズ波形で、電源オンして約8秒後、タイマーリレーがオンする時にもノイズを発生します。またその間、定電流電源の供給電圧が低く定電流状態にないため、僅かなハムがあります。
電源オフでは、電源電圧が低下して正負の動作バランスが崩れる時にもノイズの発生があります。
[図18] 電源オン・オフ時ショックノイズ波形
9.音の印象
音は素直で癖のない深呼吸したくなる新鮮さがあります。
普段の騒音で無意識のうちに強張り付いた耳の覆いを剥がして、音をいっぱい招き入れたくなります。
音で隙間無く埋め尽くしていないと我慢できないアンプもありますが、本機は静かな音楽の鑑賞にも向いています。
単純な手法で、時として素子に厳しさを強い、その危うさに芸術的魅力を感じるか、技巧を駆使して素子に快適な環境を提供することで、合理的な確かさを求めるかは、全く相入れない正反対の指向であり、物量を投じてハイパワー化したA級シングルアンプと張り合う必要もありませんが、果たしてそれで音が良くなっているのかは疑問です。
本方式のハイパワーは、低オン抵抗MOS-FETに理想条件を与えたことに附随した性能ですから、VDSをより低くすることが可能なら、更にアイドリング電流を増してパワーアップできます。その上、スピードのある素子を用いれば、益々良い音になる可能性があります。
その未来を約束するかのように、低オン抵抗MOS-FETは、よりオン抵抗が低く、より電極間容量の小さいものを目指して開発が進められています。
Copyright © 1997
Shinichi Kamijo. All rights reserved.
最終更新日: 2000/04/23 11:33:19 +0900