OPTIMOD FM8100 について

 日本国内の民放FM局のデファクトスタンダード的な振幅制御装置として、80年代後半に一世を風靡したOPTIMOD FM8100シリーズについて述べます。現在はその後継機種である8200へ主役をゆずりつつあるアナログOPTIMODですが、地方局では未だ現役で頑張っています。この8100シリーズにはAタイプとBタイプの二種類が存在しまして、一部勘違いされている方が居るようですのであらためて説明します。
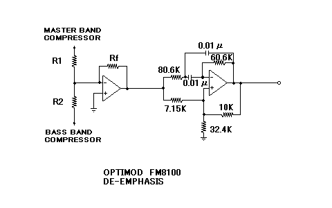
 GRメータの表示がアナログ式とLED表示の物ががあります。前者をA・後者をBと思われているようですが、これは大きな間違いです。RGメータはアナログ式の物が故障が多いため(物理的に磨耗する部品で構成されています)、後にLEDによるDB表示へと変わったものです。ではAとBとでは何が違うのでしょうか?一言で言いますと、クリッパに違いがあると言うことでしょうか。下記に8100Aの系統図を示します。



 オーディオ回路のみの系統図となります。この後にFMステレオコンポジット生成回路つきます。Bタイプのクリッパ回路ですが、上の図にありますHFリミッタの後にヒルバートトランスフォームクリッパが加わります。このヒルバートトランスフォームクリッパは8100単体で使う場合において非常に効果的な働きをしますが、6バンドリミッタを併用する場合には8100からカードを未実装させるため、殆どのFM局では6バンドリミッタを併用するため使われていない機能と言えます。具体的な回路構成はORBANのFTPから8100Bの回路図をダウンロードしてごらん下さい。
 厳密には違うのですが、3バンドのクリッパ考えていただいて良いと思います。

 ヒルバートトランスフォームクリッパを使う必然性が無いのですからBタイプを選択するメリットはありません。ここでは6バンドリミッタと8100を組み合わせた場合に得られる独特な音について公開するページです。このような理由からBタイプについては対象外とさせていただきます。


 

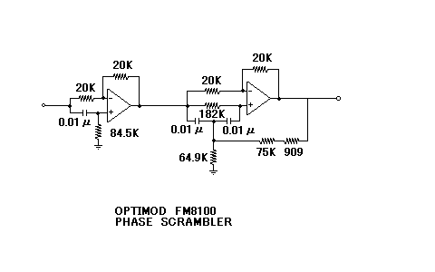
2バンドコンプレッサと位相変換器

 200Hzのクロスオーバで構成されるローパスフィルタとハイパスフィルタでバンド分割を行います。このフィルタ回路にて発生する群遅延特性の乱れからプロセス時にディップ・ピーク成分が生成される事があります。これを防ぐために200Hz付近にピーク成分をあえて持たせて、フェーズシフト回路を使い群遅延が影響しない帯域へ問題となる帯域からシフトさせます。また後にブーストした分だけリジェクトさせていますので周波数特性はフラットになります。
 この位相周波数変換器が実は非常に重要なファクタでもあるのです。目的とは別にOPTIMODサウンドの独特な低域の遅れ感を生み出します。ただ、この時点ではさほど大きな効果は得られません。もちろん音を変える事が目的ではないので当然の事でもあります。



 コンプレッサはフィードバック式によるVCAチップを使用しないディスクリート構成によるものです。アタックタイムは凡そ1msec、リリースタイムはゲインリダクションの状態に応じて可変されます。(ORBANの特許)連続したリダクションが続く音楽の場合には早くなり、逆にトークや無音状態では長くなるものです。ベースバンドとマスタバンドのカップリング回路は設定でカップリング無し〜完全カップリングまで可能です。制御はベースバンドの制御信号をマスタバンドの制御へ加える格好になります。
 また、最新型である8400に搭載されているデュアルバンドAGCが実装されていますが、8100にはAGCがありません。しかし、6バンドリミッタを使う事を前提に考えると、このデュアルバンドコンプレッサをAGC的な動作をさせる事により、効果的なものになります。予断ですが2200を他社のマルチバンドプロセッサとの組み合わせで8200風の音を出すのであれば、やはり前段に2200後にマルチバンドという構成の方がごく自然な形に思えます。マルチバンドをプリプロセッサと考えるのではないと思います。


ダイナミックスレッショルドクリッパ

 HFリミッタの後に来るクリッパは、ベースバンドに使われているクリッパとは動作が異なります。ベースバンドクリッパが固定スレッショルドなのに対して、このクリッパはスレッショルドが可変するタイプです。つまりクリッピングがソースの状態により最適に行われるように工夫されているのです。制御信号はHFリミッタ内部のデファレンシャルプリエンファシス回路出力で、高域に対して深く動作するようになっています。なお、このダイナミックスレッショルドクリッパは8100単体で使う場合において使用するものであり、6バンドリミッタを併用する場合には先のヒルバートトランスフォームクリッパと同様に無効にしています。6バンドリミッタにはバンド毎にクリッパが装備されていますので、いかに可変型とは言えどもかなわないと言うことと、余計にクリッピングさせる事は高調波ひずみを増大させる事にもなるためです。
 ひずみ除去クリッパはORBANの特許モジュールによる通称スマートクリッパと呼ばれる構造の要ですが、これは6バンドであっても必要不可欠なファクタであって、5・6バンドのクリッピングソースと非クリッピングソースとの差分検出信号を印加して、ひずみ除去を行っています。


オーバシュートコンペンセータ

 これもORBANの特許モジュールを用いて可能にしている技術でして、オーバシュートの検出を行う回路と発生したオーバシュートを除去させる特許モジュール(位相遅延モジュール)で構成されています。この技術はAMシリーズである9000でBBD素子を用いたルックアヘッドによるアタックタイムが理論上0msecになるリミッタ回路を、9100でF特とS/N比改善のためにBBDを用いることなくまた高価なディジタルディレイ(1980年代前半ではまだ高価なものだった)を使うことなくアナログ処理を実現させています。AM9100・FM8100ともオーディオ音声処理は全てアナログで処理されているのです。


位相補正器

 フィルタ回路が置かれる場所には必ず前段に使われています。目的は群遅延特性の補正なのですが、副作用で原音と若干異なる音になります。この処理が8100の音のくせであり、中段で使われる6バンドリミッタにより更に強調されるのです。

TOPへ