| シリアルポート |
| EIA-574 |
| EIA-232(RS-232C) |
| Dsub 9pin/25pin変換 |
| パラレルポート |
| EIA-1284 |
| 極性統一DCジャック EIAJ RC-5320 |
| TYPE-1 3.15V以下 |
| TYPE-2 6.3V以下 |
| TYPE-3 10.5V以下 |
| ハンディ機のマイクとイヤホン信号 |
| 八重洲/スタンダード |
| ケンウッド |
| 3端子レギュレータ |
| 78Lxx (100mA) |
| 78xx (1A) |
| 79Lxx (-100mA) |
| 79xx (-1A) |
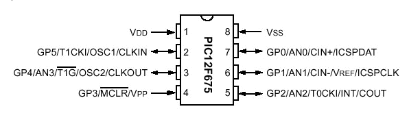
| PICピン配置 |
| PIC12F675 |
| PIC16F628 |
| PIC16F873 |
| PIC16F877 |
| LCDピン配置 |
| SC1602BS |